Description:
Applications: Food Processor, Juicer, Blender
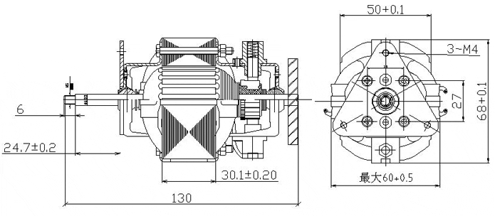
Outlines

Remark: We can produce according to customers requirement. Specifications Volts Freq. (Hz) NO-LOAD LOAD I.P. O.P. EFF. SPEED CURRENT POWER SPEED TORQUE (N.m) CURRENT (A) 220 50/60 19300 0.35 78 6720 0.2 1.215 256.2 135.4 52.8 110 60 19800 0.73 80 6650 0.2 2.75 280 138.6 49.4
(V)
(W)
(W)
(%)
(rpm±10%)
(A)
(W)
(rpm±10%)