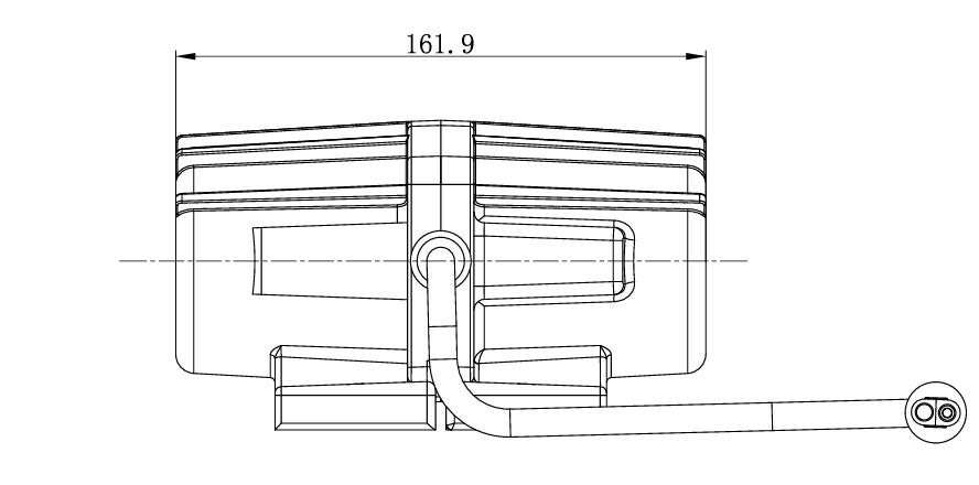
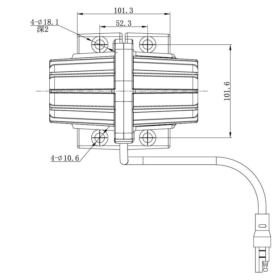
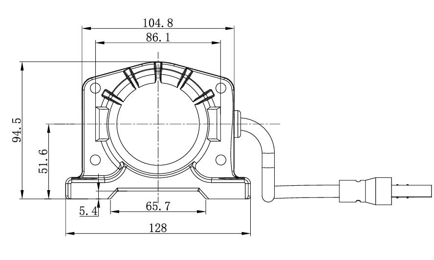
DC TRUCK VIBRATOR 80LBS AND 200LBS TYPICAL SPECS.:
· Rated Voltage 12V DC
· Speed 4500RPM
· Vibration 80LBS (or 200LBS )
· Truck Dump Body Vibrator Motor
· 12VDC Vibrator Vibration Motor for Salt Sand Spreader and Concrete Mixer 75Hz 80LBS, 200LBS Brush Vibrator for Salt Sand Spreader and Concrete Mixer DC 12V 4500RPM Vibrating Force 200lbs





